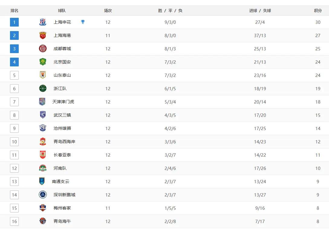
北京时间5月18日,中超联赛第12轮结束最后一场争夺。上海海港客场5比3击败青岛西海岸,取得4连胜,继续排名第二位。本轮之后,申花3分优势领跑,海港少赛一轮落后3分。山东泰山队24分排名第五位,和国安积分相同,落后成都1分。本轮比赛,中超8场比赛打进43球,刷新单轮进球纪录(38球)。

本轮比赛分为四个比赛日进行,5月15日,上海申花在主场2比0艰难击败青岛海牛,直到比赛最后时刻,蒋圣龙才为申花打破僵局,申花2比0拿到三分后,继续领跑。16日,山东泰山主场3比2逆转击败深圳新鹏城,加西亚先进一球,高准翼、克雷桑和卡扎伊什维利进球反超,杜加利奇扳回一球,泰山队拿到3分后,紧追前四名。

17日5场比赛,长春亚泰主场3比2绝杀北京国安,最后时刻法比奥扳平比分,但是亚泰之后获得点球,祖伊主罚命中,亚泰取得主场首胜,国安5连胜被终结,积分榜上和泰山队同分。成都蓉城客场4比1击败梅州客家,开场仅2分钟,杨帆被红牌罚下,成都少打一人的情况下发挥出色,韦世豪梅开二度,带队取得一场大胜。

河南主场2比3不敌武汉三镇,遭遇5连败,南基一下课已成定局。沧州雄狮2比4不敌天津津门虎,天津高中锋孔帕尼奥上演帽子戏法,下一轮天津对阵泰山队的比赛,孔帕尼奥的发挥依然值得关注。浙江主场5比2大胜南通支云,南通输球后,依然深陷保级区。

18日上海海港客场对阵青岛西海岸,上半场武磊先进一球,古斯塔沃连续进球,阿兰扳回一球,海港3比1领先。下半场,巴尔加斯再进一球,但是之后西海岸连续追回两球,阿兰再次破门,李昂自摆乌龙,比分该写到3比4。第80分钟,武磊梅开二度锁定胜局。最终,海港5比3击败西海岸,取得4连胜。